
今日重磅
罗永浩否认锤子没钱付工资:「感谢」媒体造谣传谣

《证券日报》发文报道,锤子科技内部人士接受他们采访时表示:锤子资金出现问题,不够支付工资。公司的确有危机,但请给锤子时间。

该报道昨天得到大量传播,傍晚时分,罗永浩在微博上转发该文章并辟谣,表示「如期发过工资了,感谢媒体的朋友们造谣传谣。 」
AirPods 2 充电盒现身

近日,Slashleaks 上流出了 AirPods 2 的充电盒的谍照,显示底部将配有充电接口。按此前爆料,AirPods 2 将支持无线充电、Siri 随时唤醒,以及拥有更好的续航。

但据 Slashleaks 显示,该爆料的可信度只有 33%。不过,也不用太灰心,至少苹果官网的 AirPods 页面上也已经写着「可单独选配的无线充电盒」,但仍未推出。
刘强东涉嫌性侵风波后首次发声

在昨天的京东第三季度财报的电话会议上,刘强东进行了被曝涉嫌性侵后的首次发声「现在整个京东集团的管理团队已经稳定而且成型」,「个人正面临四件事: 战略、文化、团队和新业务。」
当被问及明尼苏达州事件后,京东高管表示「没有可以告诉你的新信息」,「就像你看到的,刘强东已经回公司正常工作,并且这件事对公司运营并未产生影响。」
全球未来
NASA 在考虑销售太空旅行

《华盛顿邮报》消息,NASA 内部正考虑向个人旅客销售太空旅行,用送宇航员上国际空间站的飞船。这是 NASA 商业化的其中一个候选措施,其它还包括让宇航员去做代言、让企业赞助命名飞船等等。
这将意味着 NASA 可能将开始和 Blue Origin、Virgin Galactic 等私营公司在太空旅行上形成直接竞争。
三星 CEO 承认手机业务危机,S10 和折叠屏手机是希望

在最近一封内部信中,三星电子智能手机 CEO 高东真表示「当前三星智能手机业务的困境感到抱歉,将尽我所能地通过推出 Galaxy 10 和折叠屏手机渡过当前的危机。」
此前,有报道指高东真职位不保,三星将在年底迎来人员调动和公司重组。
小米和美图手机合作,要增加女性用户

昨天,小米宣布和美图公司签订战略合作合同,将获得美图手机品牌、相关影像技术,以及大部分智能硬件的 30 年全球独家授权。
对于这个合作,小米 CFO 表示,美图在女性领域的优势帮助提高小米用户多样性。
亚马逊新总部为什么选纽约?一大吸引点居然是直升飞机停机坪

《华尔街日报》报道,作为其中一个被选中作为亚马逊新总部的城市,纽约提出其中一个最吸引的条件居然是私人直升飞机停机坪的建设和使用。
在交通堵塞的城市中,直升飞机是不少高管的理想出行方式。不过,纽约市还是规定亚马逊一年只能用这个停机坪 120 次。
比尔·盖茨:我比较像《硅谷》里的 Richard Hendricks

今天,盖茨在 Twitter 上为《硅谷》站台,表示「如果你想了解现在的硅谷,你就该看《硅谷》」。

盖茨自爆觉得自己和剧中的 Richard Hendricks 最像,说大家都是「优秀的程序员,但得艰难学习怎样去管理人。」最后还送上一张将 Richard 脑袋 P 到自己身上的照片,实在太可爱了。
科技未来
没有 iPhone XS 都能玩景深啦,得感谢 Google

新 iPhone 其中一个最诱人功能就是对景深的调整,不过,现在旧款 iPhone 用户也能用上这个功能了。Google 将景深调节功能增加到了 iOS 版的 Google Photos app 中,大家都能玩起来了。
软银发布清洁机器人,租用 222 美元/月

软银发布了地板清洁机器人 Whiz。这款机器人带有手柄,让用户来「教育」机器人清洁路径,随后即可自动清洁,并可通过自动规避障碍和行人,续航时间长达 3 小时。
Whiz 将于明年 2 月发售,重达 32 公斤,公司可以 222 美元/月租用。
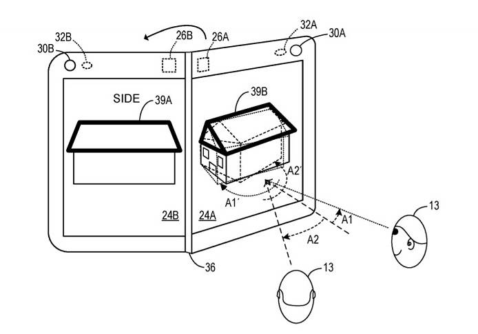
微软新专利:可支持 3D 显示的双屏设备

近期,美国专利商标局(USPTO)公布了一项名为《在铰链式多平设备上呈现虚拟对象》的专利,其中详细介绍了微软的一款双屏设备,该设备支持 3D 渲染与显示。
用户能从不同位置与多屏设备进行交互,并可在二维屏幕上操控 3D 虚拟对象。
网友们都在聊什么
2019 放假时间表公布

12 月还没到,2019 年的放假时间表就已经来了。不少眼利网友发现:「为什么三天的假期都巧妙地安排在了周五?」
加班党觉得「放假和我无关」,而在天平另一端则是校园侧抱着寒暑假晒命的「好少啊,还好我是老师有寒暑假。」
#欢迎关注爱范儿官方微信公众号:爱范儿(微信号:ifanr),更多精彩内容第一时间为您奉上。
from 爱范儿 https://ift.tt/2TlzRwB
via IFTTT
没有评论:
发表评论